如您的网站、APP、小程序已完成工信部ICP备案,或您的网站、APP、小程序部署在非中国内地的服务器上,但可以在中国内地访问该网站,则您必须办理公安联网备案。
什么是网站公安备案?
1.网站公安备案是指在我国互联网管理体系下,所有网站必须进行公安部门备案登记,以确保网站内容合法、安全、健康。
2.备案登记后,公安机关将对网站进行安全监管,确保网站不会传播违法信息,不会危害社会稳定和国家安全。
为什么要进行网站公安备案?
1.法律规定: 《中华人民共和国计算机信息系统安全保护条例》 第十一条规定:“进行国际联网的计算机信息系统由计算机信息系统使用单位报公安机关备案。” 《计算机信息网络国际联网安全保护管理办法》第十二条规定:“互联网单位、接入单位、使用计算机信息网络国际联网的法人和其他组织,应当自网络正式连通之日起30日内到所在地公安机关的网安部门办理备案手续。”第十一条提及用户在接入单位办理入网手续时,应当填写用户备案表,该表格由公安部监制。
2.保障网站安全:备案登记后,公安机关将对网站进行安全监管,确保网站不会传播违法信息,不会危害社会稳定和国家安全。 3.备案登记也可以保障网站的合法权益,防止侵权和恶意攻击。

网站公安备案的详细操作流程
一、注册账号
直接打开公安部“互联网+政务服务”平台,填写信息进行注册,按提示进行,密码是必须包含字母、数字和特殊符号的。(注:所有项是必填,手机号及邮箱比较重要,通过后手机会收到短信)。
或者,打开全国互联网安全管理平台,点击用户登录,点击跳转后,注册账号。 注意:公安部“互联网+政务服务平台”平台仅提供注册登录功能,账号类型(个人/法人)不影响后续的备案业务办理。目前公安部“互联网+政务服务平台”平台暂不支持政府、事业单位、社会团体注册,请注册个人账号跳转备案平台。后续如有工作交接需求,可使用备案平台【移交主体】功能,将主体转移到同事账号或单位账号下。

提交注册后,需要进行实名认证,如图:

(用苹果手机,扫码认证后没通过,换安卓手机就好了)
绑定旧账号
注意:如果之前注册过公安备案的账号的话,就需要完成上述注册新账号步骤后,回到公安备案平台,即打开https://beian.mps.gov.cn/,点击用户登录,跳转后,绑定旧账号。


关于完成“全国互联网安全管理服务平台”网站系统升级的公告
尊敬的网站用户:
为优化系统功能,我们已完成对“全国互联网安全管理服务平台”网站的系统升级,您现在可正常进行业务办理。如您前期曾经在本网站注册过账号并办理过相关业务,可通过如下操作将历史账号中的信息迁移至新网站系统。
1、点击“用户登录”按钮跳转至公安部“互联网+政务服务”平台进行账号注册并登录网站系统。
2、登录完成后,回到本平台,点击右上角的“个人姓名”。
3、在下拉框中选择“绑定旧账号”。
在使用新系统过程中如遇有问题,可查看网站页面下方的各项业务指引,或者通过向网站客服邮箱(support@beian.gov.cn)留言,我们将及时为您解答解决。
特此公告。
2024年10月7日
二、登录账号,填写主体信息并提交审核
登录后,新用户需要先新增主体或关联旧账号。点击顶部右上的【业务办理】,再点击主页面的【新增主体】添加主体信息,选择开办主体性质:个人/单位。

2.1 个人信息填写

按照具体要求进行填写和上传照片,身份证正反面、身份证手持照片。如果运营地点是身份证上的省份,地址填写身份证上的地址就行。
2.2 企业信息填写
选择单位,然后选择主办单位性质

按照提示进行信息填写,最后点击提交审核。(注:不需要进行等待审核通过我们就可以进行备案申请)
填写说明
一、请您仔细阅读《网站备案指引》中的用户手册、办事指南、常见问题;
二、申请人需确保填写的内容真实、准确,公安机关将对相关内容进行核实;
三、请您提前准备好如下材料(红色的为必填项): 开办主体填写项:主办单位性质;负责人姓名、负责人证件类型、负责人证件号码、负责人证件有效期、身份证人像面(图片)、身份证国徽面(图片)、身份证手持(图片)、负责人常住地址、负责人常住详细地址、负责人手机号码、办公室电话、电子邮件地址;个人类主体可不填:主办单位名称、主办单位证件类型、主办单位证件号、主办单位有效证件(图片)、单位办公地址、单位办公详细地址、单位注册地址、单位注册详细地址、法定代表人姓名 ;
四、您的申请将在30个自然日内,由属地公安机关网安民警进行核验,您可在 “系统通知” 模块查看相关通知;
五、如您在业务办理中有任何问题,可通过网站下方的 “政务网站找错” 留言反映;
三、进行新网站备案
点击顶部【业务办理】,再点击【新办网站申请】,然后逐步填写信息,而且提前准备好身份证的正反面图片,后面会用到。

3.1核对主体信息
右侧主体信息无误后,点击下一步填写网站基本信息

3.2 网站基本信息
填写说明
一、请您仔细阅读《网站备案指引》中的用户手册、办事指南、常见问题;
二、申请人需确保填写的内容真实、准确,公安机关将对相关内容进行核实;
三、请您提前准备好如下材料(红色的为必填项):
网站信息:网站名称、工信部备案号、网站开通日期、主域名、域名证书(图片)、域名证书有效期(开始、结束)、从域名、ip、市值、月活用户数量、网络接入服务商(接入商所属地区、名称、接入方式)、域名注册服务商(域名商所属地区、名称)、服务类型、互联网危险品信息发布(即管制物品)、相关前置许可、网站语种;
网站安全负责人信息:姓名、证件类型、证件号码、证件有效期、身份证人像面(图片)、身份证国徽面(图片)、身份证手持(图片)、常住地址、常住详细地址、手机号码、电子邮件地址;
网站应急联络人信息:姓名、证件类型、证件号码、证件有效期、身份证人像面(图片)、身份证国徽面(图片)、身份证手持(图片)、常住地址、常住详细地址、手机号码、电子邮件地址 ;
四、您的申请将在30个自然日内,由属地公安机关网安民警进行核验,您可在 “系统通知” 模块查看相关通知;
五、如您在业务办理中有任何问题,可通过网站下方的 “政务网站找错” 留言反映;

(1)网站名称:建议填写备案时的网站名称
(2)是否有工信部备案号:选择是(没的话你也不必来这里提交公安备案了)
(3)工信部备案号:填写你网站的备案号
(4)网站开通日期:这个关系不大,建议选择备案成功的日期
(5)主域名:填写网站域名
(6)域名证书:到域名管理处下载 腾讯云:https://console.qcloud.com/domain 阿里云:https://dc.console.aliyun.com/next/index#/domain/list/all-domain
(7)从域名:填写本网站注册使用的其他域名,也就是能访问该网站的其它域名。
(8)IP:IP地址为服务器公网IP地址,请不要填写内网IP。
(9)市值、月活用户数量:按实际情况填写
3.3 网络接入服务商和域名注册域名商

公安备案网络接入服务商和域名注册域名商
(1)网络接入服务商
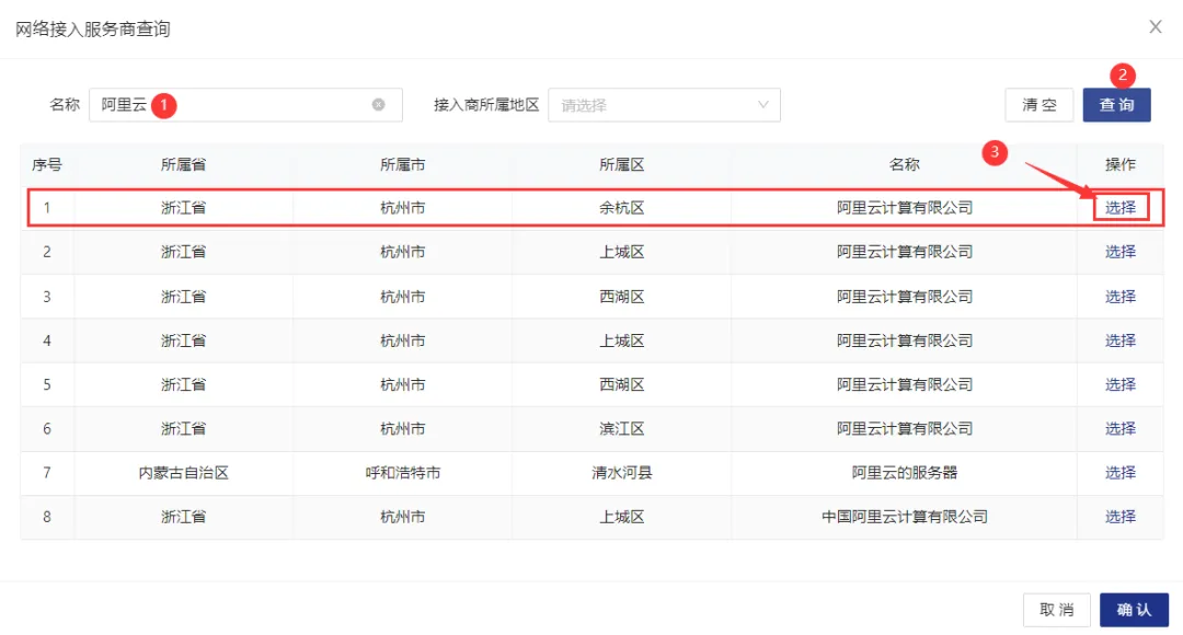
我们点击查询网络服务商,输入腾讯云/阿里云,搜索即可。找到后点击【选择】就可以自动填入了。
网站接入方式:空间主机选择租赁虚拟空间,服务器选择租赁主机。
①腾讯云:如果你网站使用的是腾讯云的服务器,选择北京市海淀区的这个

网络接入服务商-腾讯云
②阿里云:如果你网站使用的是阿里云的虚拟主机/服务器,选择杭州市余杭区的这个

网络接入服务商-阿里云
(2)域名注册服务商
①腾讯云:在腾讯云注册的域名服务商为新网,点击查询域名注册服务商,输入【新网】。

注意:腾讯云的域名注册服务商有多个:北京新网数码信息技术有限公司、广州云讯信息科技有限公司、烟台帝思普网络科技有限公司、腾讯云计算(北京)有限责任公司。可以到腾讯云的域名管理,查看你的域名注册服务商是哪个。
②阿里云:在阿里云注册的域名服务商为万网,点击查询域名注册服务商,输入【万网】或者【阿里云】。

其他服务商请自行查询选择,或者咨询你的域名注册服务商客服。

网站服务类型、网站信息发布、网站语种等
服务类型选择:一般的企业网站是展示型网站,没有评论功能版块,就选择【否】。
网站无评论、交流功能建议选择非交互式;有就选择交互式(如:论坛),然后在下方选择对应的网站类型。
交互式服务指:为互联网用户提供信息发布、交流互动等服务,包括但不限于论坛、博客、微博、网络购物、网上支付等服务类型。
特别注意:
非交互式网站初步审核完成后即完成公安备案,交互式网站需要进行面审或实地检查,具体时间将以短信告知。
3.5互联网危险物品信息发布
(1)是否提供涉及管制物品信息发布服务。一般都是选择【否】。
(2)相关前置许可。一般都是选择【否】。网站如果有前置审批的项目,请如实填写。
3.6网站语种
一般选择【中文简体】即可。(含全部或部分使用的语言种类)
四、网站安全负责人信息和网站应急联络人
个人用户直接勾选【同主体负责人】后会自动填入。
企业单位用户请根据实际情况如实填写相关联系人信息。

网站安全负责人信息和网站应急联络人
五、同意告知书并提交审核

互联网信息服务单位网络安全责任告知书
这个地方有30S的走秒时间,建议是认真查看一下告知书内容,然后点击提交即可。 至此,备案信息已提交成功,耐心等待审核。审核过程中会有网安部门的工作人员电话联系你,并会发短信告知你下一步的操作。 各地政策有不同,有些地区会要求本人带身份证到当地公安局的网安大队,有些地区则不需要,看实际情况!
六、备案号放置网站首页下端 在完成以上审核以后,公安机关将会发放公安部备案号,您需要将备案号放置网站首页下端 .
获取代码方法:在已备案网站中查看网站详情,点击【点击复制备案号】即可获得备案代码。
示例代码:
<a class="textcolor"href="http://www.beian.gov.cn/portal/registerSystemInfo?recordcode=改成自己的备案号" target="_blank" rel="nofollow noopener">改成自己的备案号</a>
七、进行新增APP备案
点击顶部【业务办理】,再点击【新增APP】,然后逐步填写信息,与新增网站备案操作流程一致。需提前准备的材料有所不同(红色的为必填项):APP信息:应用名称、运行平台、应用logo(图片)、应用类型、应用包名、月活跃用户数量、注册用户总量、相关前置许可、运行截图(1~6张图片)、功能描述。

相对更加简单,可参照网安备案部分内容进行填写。
八、进行新增小程序备案
点击顶部【业务办理】,再点击【新增小程序】,然后逐步填写信息,与新增网站备案操作流程一致,需提前准备的材料有所不同(红色的为必填项): 小程序信息:小程序名称、应用类型、托管服务器信息、相关前置许可、运行截图、IP地址、工信部备案号。

相对更加简单,可参照网安备案部分内容进行填写。
九、开展安全评估
9.1法律规定
《具有舆论属性或社会动员能力的互联网信息服务安全评估规定》
第三条 互联网信息服务提供者具有下列情形之一的,应当依照本规定自行开展安全评估,并对评估结果负责:
(一)具有舆论属性或社会动员能力的信息服务上线,或者信息服务增设相关功能的;
(二)使用新技术新应用,使信息服务的功能属性、技术实现方式、基础资源配置等发生重大变更,导致舆论属性或者社会动员能力发生重大变化的;
(三)用户规模显著增加,导致信息服务的舆论属性或者社会动员能力发生重大变化的;
(四)发生违法有害信息传播扩散,表明已有安全措施难以有效防控网络安全风险的;
(五)地市级以上网信部门或者公安机关书面通知需要进行安全评估的其他情形。
9.2 注意事项
互联网信息服务提供者可以自行实施安全评估,也可以委托第三方安全评估机构实施。

新增网站、APP、小程序备案申请后,可选择评估对象,按照平台选项提示,如实录入评估情况。
十、公共查询
通过公安备案后,可以到公安备案平台【公共查询】查询备案信息,不用登录。












![表情[dabing]-免费提供建站资源馨跃芸博客](https://blog.770504.asia/wp-content/themes/zibll/img/smilies/dabing.gif)



暂无评论内容